Головна
Про магазин
Доставка і оплата
Контакти
(068) 824-24-24
(098) 924-24-24
Зворотній дзвінок
Запчастини Makita
/ Запчастини для Макіта EG240C
Запчастини до інструменту Makita EG240C - купити в Києві, Україні
На цій сторінці є вибрані запчастини. Додати їх до кошику?
Додати запчастини до кошику
Не додавати запчастини
Для замовлення запчастин Makita, выберіть необхідні деталі на схемі чи в таблиці і підтвердіть замовлення внизу сторінки.
1
2
3
4
5
6
7
8
9
10
11
12
13
Замовлення запчастин Макіта
Всього на суму:
0
грн.
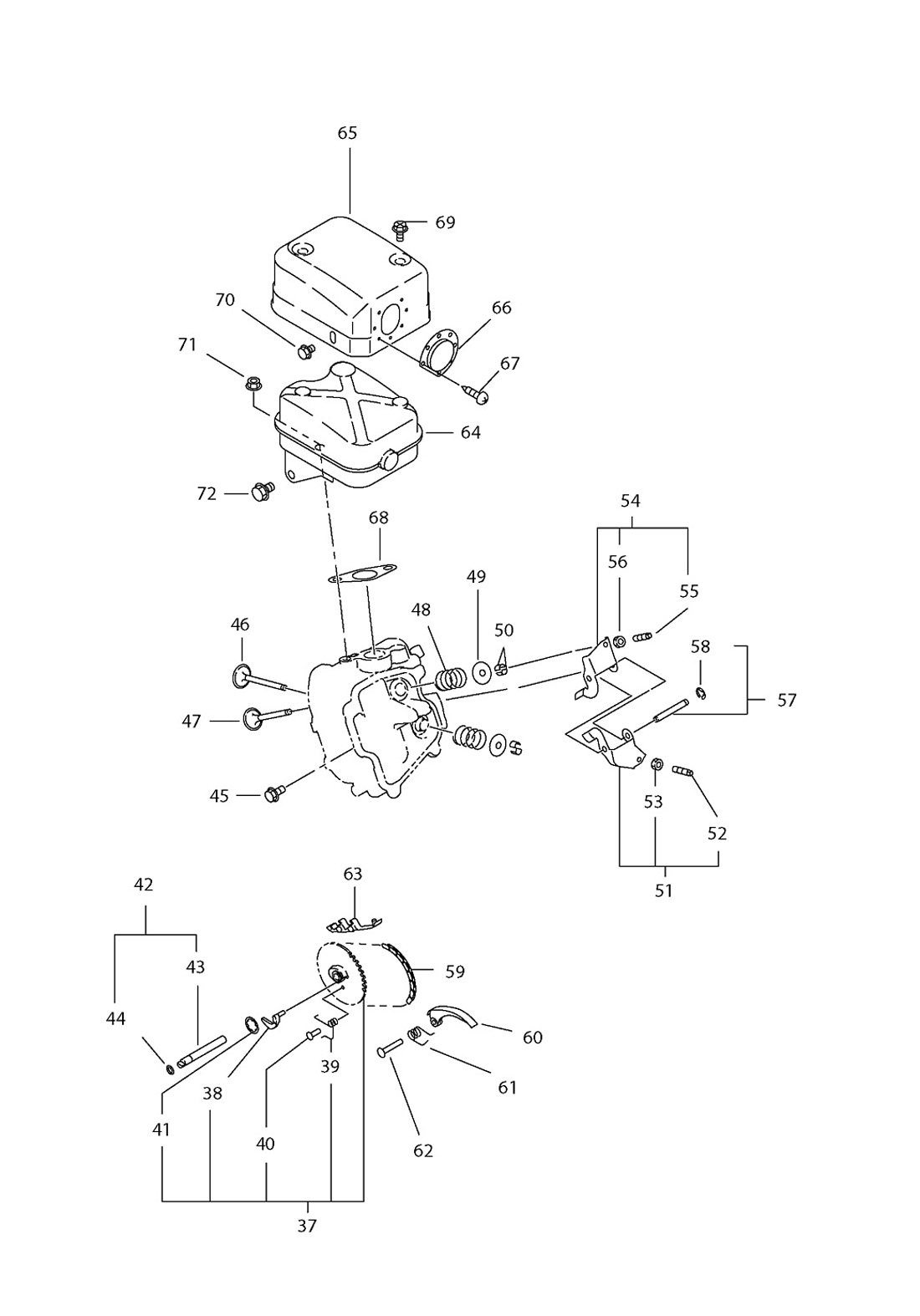
38
2773640103
RELEASE LEVER
под заказ
39
2793870113
RETURN SPRING
под заказ
40
2773860103
PIN(SPRING) 4DX8DX9L
под заказ
41
2773650103
CLIP 13.8DX20.3DX0.4T
под заказ
42
2773510101
PIN(CAM SHAFT)CP
под заказ
43
2773510103
PIN(CAM SHAFT)9DX78.5L
под заказ
45
0110060010
Гвинт з бортиком
20 грн.
46
27733401H3
INTAKE VALVE
под заказ
47
27733501H3
EXHAUST VALVE 23.5DX5.5DX68.1L
под заказ
48
2793360103
VALVE SPING
под заказ
49
2693370103
SPRING RETAINER
под заказ
50
13210KA031
COLLET VALVE
под заказ
51
2773620100
LOCKER ARM(INTAKE) ASS'Y
под заказ
52
0149050020
Гвинт
под заказ
53
0170050030
NUT M5
под заказ
54
2773620200
ROCKER ARM(EXHAUST)ASS'Y
под заказ
55
0149050020
Гвинт
под заказ
56
0170050030
NUT M5
под заказ
57
2773500401
PIN(ROCKER) CP
под заказ
58
0031305000
CLIP
под заказ
59
2773560111
TIMING CHAIN COMPLETE
под заказ
59
27735602H1
TIMING CHAIN COMPLETE
под заказ
60
2773691103
TENSIONER
под заказ
61
2773710103
SPRING(TENSIONER)
под заказ
62
2773690203
PIN(TENSIONER) 6DX13DX34L
под заказ
63
2773691313
CHAIN GUIDE
под заказ
67
0150040060
Гвинт
под заказ
68
2773520113
Ущільнення глушника
63 грн.
70
0110060010
Гвинт з бортиком
20 грн.
71
0023808000
FLANGE NUT
под заказ
71
9802008280
FLANGE NUT M8
под заказ
72
0110080320
FLANGE BOLT
под заказ
Товар додано до кошика
...
Зателефонуйте мені
Ім'я
Номер телефону
Коментар
Дякуємо
Ваш запит успішно надіслано.
Неправильний логін або пароль.